Due to the COVID-19 restrictions Governments have put on society throughout the world, it’s made it increasingly difficult to take group selfies. There’s no more nights out. No more trips to the beach (well, for most of us anyway) and no more parties at home. But, this hasn’t stopped Apple from sharing memories.
In the patent that was discovered by blog Patently Apple, a website that prides itself of deep diving into Apple news, and although patents shouldn’t be taken at face value, it’s exciting to know that there is technolgy like this being thought about, enough to protect intellecual property.
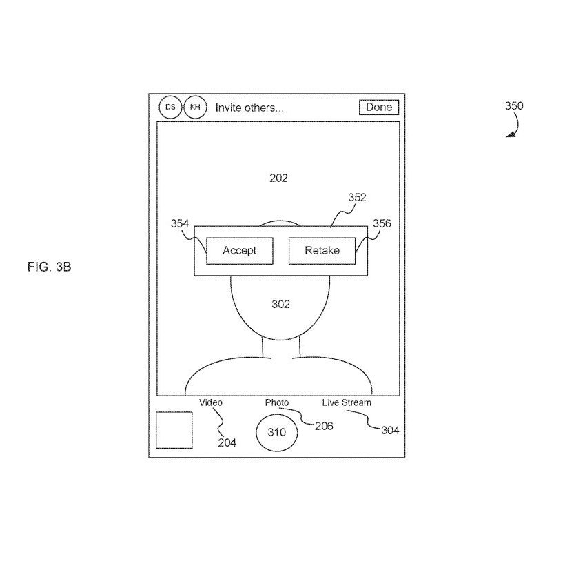
From the images with the patent, it looks as if users are invited to a group photo. Through a series of AI, very similar to how something like Facebook Messenger or Instagram work with its overlays, Apple’s group selfie would work in a similar manner.
Your face will be overlayed in another user’s photo. This will be done automatically of course, because who’d be doing things manually in 2020 right and the age of AI? No one.
Although we’ve said that it’s a great way for us to take selfies in lockdown, I’m not actually sure that that’s the purpose of this app. It could be used to fit more people into a single selfie at a single event. Everyone stand in a line, take a selfie, send it to the host and voila, you’ve got yourself an epic selfie!
Anyway, don’t get your hopes up yet. It’s a nice idea, but as I sai before, this is a patent. It isn’t set in stone.




